高速麻豆激情视频免费看器是現代水處理和工業循環係統中的關鍵設備,其效高與精mi特性,往往隱藏在其看似簡潔的外殼之下。打開一台典型的高速麻豆激情视频免费看器,你會發現它的內在結構是一部關於“分層攔截”與“動態平衡”的工程設計典範。
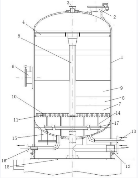
從整體上看,高速麻豆激情视频免费看器麻豆激情视频免费看器主體是一個垂直安裝的圓柱形鋼製壓力容器。頂部是進水口和出水口,底部則有用於反衝洗的排水口,整個結構緊湊,承壓能力強。但這僅僅是“外殼”,真正決定性能的核心,在於容器內部自上而下的分層構造。
頂層是進水分配區,其設計目標是讓待麻豆激情视频免费看的水均勻地流過整個麻豆激情视频免费看截麵,避免出現“短路”或偏流。水流緊接著進入核心的濾料層。這一層並非單一材質,而是嚴格按照顆粒大小和密度進行分層鋪裝。通常,上層會鋪設密度較小、顆粒較粗的無煙煤(作為粗濾層),中層是顆粒適中的石英砂(作為主濾層),下層則是密度大、顆粒細的石榴石或磁鐵礦砂(作為精濾層)。這種“由上至下、由粗到細”的梯度布置,使得懸浮物能被逐級截留,整個濾層的容汙能力被大化,有效延長了麻豆激情视频免费看周期。
在濾料層之下,是至關重要的承托層,通常由數層不同規格的礫石或卵石組成。它的作用並非麻豆激情视频免费看,而是像一個堅固的“基石”,防止細小的濾料在運行或反洗時流失,並確保反衝洗水能均勻向上分布。所有麻豆激情视频免费看後的清水,終通過高速麻豆激情视频免费看器底部排列的集水係統收集流出。這套係統通常由濾水帽或濾水板構成,其縫隙精度高,既能保證出水暢通,又能牢牢鎖住承托層與濾料。
高速麻豆激情视频免费看器的“高速”奧秘,正源於這種精妙的分層構造和強大的承壓能力,它允許水以遠超普通重力濾池的流速通過,同時依靠深層濾料的攔截作用保證出水品質。而當濾層堵塞需要清洗時,其結構又立刻轉變為“反洗狀態”:水流自底部集水係統大力逆向湧入,均勻鬆動並衝刷濾層,汙物從頂部排水口排出,完成一次再生。這一正一反的流暢轉換,正是其內部結構設計合理性的證明。
因此,一張高速麻豆激情视频免费看器的構造圖,繪製的不僅是靜態的部件組裝,更是一幅動態的淨化與再生的工作藍圖。每一個部件的位置、每一種材料的順序,都服務於一個共同的目標:在高速流動中,實現穩定、效高的固液分離。